全球知识产权大型服务机构
10年专注全球知识产权服务
- 全国24小时热线:
- 400-1688-019
华为自研操作系统半揭面纱。
5月24日消息,国家知识产权局商标局网站显示,华为已经申请注册“华为鸿蒙”商标,并标注该商品可用于操作系统程序。
而早前第一财经曾曝料,华为从2012年开始规划自有操作系统,备用名即“鸿蒙”。
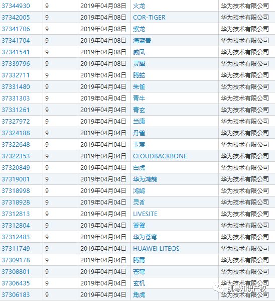
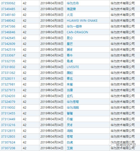
那么“鸿蒙”是什么意思呢?   “鸿蒙”是中国传说中的一个时代,“鸿蒙”时代甚至产生在混沌之前,“鸿蒙”时代末期世界破碎产生混沌之气,混沌之气聚集成为混沌时代。   “鸿蒙”,既代表着一切的起源,代表着从零做起,也代表着破开混沌的决心;既能看出华为开天辟地的野心,也能感受到他们披荆斩棘的艰辛。   根据国家知识产权局商标局网站显示,“华为鸿蒙”申请日期是2018年8月24日,注册公告日期是2019年5月14日,专用权限期是从2019年5月14日到2029年5月13日。   在商品名称一栏中,华为鸿蒙可应用于操作系统程序、计算机操作程序、计算机操作软件等等。   5月20日,路透社援引消息人士的话称,谷歌宣布中止华为更新安卓系统。此举被花旗银行视为“让华为瘫痪”。   而次日华为西欧业务部副总裁沃特金斯(Tim Waktins)就回应,其实华为早已准备好应对方案:华为操作系统早已开始研发,并已在中国部分地区进行了测试,预计“很快”就能上市。   《金融时报》则透露,华为操作系统并不是“临时抱佛脚”,其研发时长至少有7年之久。 当天(21日)晚间,华为消费者业务总裁余承东也在社交媒体上表示,最快今年秋天,最晚明年春天,华为自己的操作系统(OS)将可能面市。届时华为操作系统还将兼容全部的安卓应用。 余承东表示,华为始终坚持打造自己芯片的核心能力,坚持使用与培养自己的芯片。除了自己的芯片,还有操作系统的核心能力打造。 与此同时,“鸿蒙”的名称也迅速流传网络。   我们在国家知识产权局商标局网站,还能查到华为“鸿鹄”、“鸿雁”等注册商标。   前者商品名称标注为集成电路、电子芯片,后者则与通信计算机、笔记本电脑有关。 我们接着往下看华为都注册了哪些商标: 朱雀、腾蛇、青牛、丹雀、当康、白虎、灵豸、饕餮……   这波商标听着耳熟不,这不都是我国神话中的神兽吗?   华为这是注册了一整本中国神话?更是有网友调侃:华为负责注册商标的人妥妥地是个玄幻迷!   华为注册了这么多的“神兽”商标,是为了做什么呢?是将推出某款新的产品,还是其他什么原因?我们如今不得而知。   但是我们也可以从商标名称上分析华为申请商标的意图。首先从申请的商标名称来看,均是与中国传统神话中的神兽相关;其次,如今在华为旗下已有多款芯片产品命名是与神兽名字相关的;再者,华为所申请的这堆商标均只申请了第9类和第42类,针对性强,从商标类别明细来看,这些商标名称极有可能是华为未来要推出的芯片产品。   华为在拥有超高自主研发能力的同时,更不忘对技术的保护,全方位的申请商标、专利等保护其知识产权,这一点值得所有企业学习!



